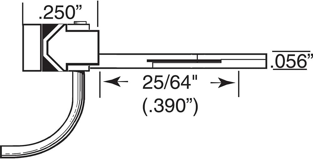
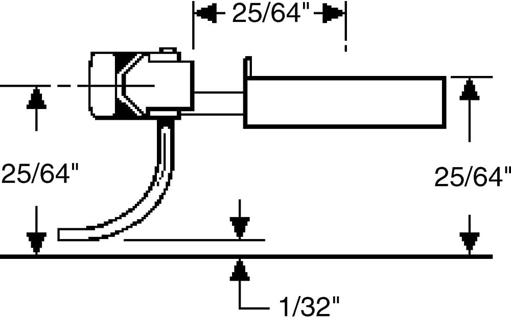
HO Whisker Coupler, 1cm Underset (2pr)

Brand:

24.85

EAN:

Categorie
Veicoli ferroviari/Treni

0

5 Star
4 Star
3 Star
2 Star
1 Star

Scrivi la tua recensione

La tua mail non sarà pubblicata. Tutti i campi obbligatori sono segnati con*

Prodotti correlati

Scopri il nostro network internazionale

Spediamo in 28 paesi, oltre 200.000 prodotti. Resta aggiornato, iscriviti alla newsletter.

Array